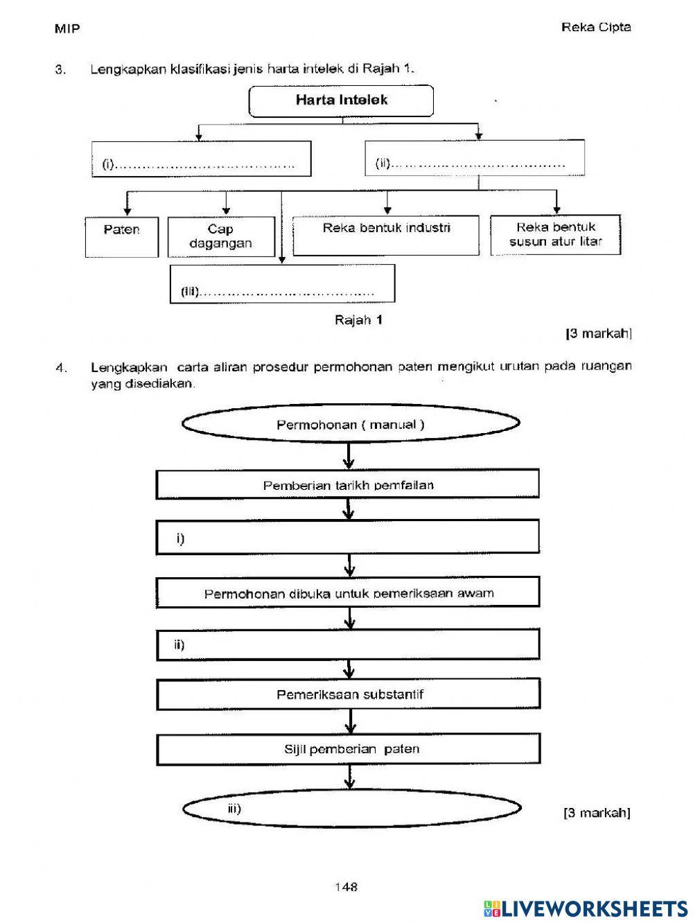
Created byOMAR BIN HANAFIAH Reka Cipta Rc Age 16-18 level: T5 Malay Author's Instructions T5-Bab 7 RC MIP My Google Classroom Courses × 0 classes selected (0 students total) Quick Access Select all classes (0 classes) All Classes Loading courses... Cancel Share Share to selected Course __COURSE_NAME__ __STUDENT_NAME__ (__STUDENT_EMAIL__) T5-Bab 7 RC MIP Download Worksheet Validation Check my answers Emails my answers to my teacher Full name Group/level School subject Teacher's email or key code Close Submit Validating worksheet... (12) Your answers have been sent to your teacher. Good luck! OK We encountered an error submitting your answers. Please try again. OK Advertisement | Go Ad Free Created byOMAR BIN HANAFIAH Reka Cipta Rc Age 16-18 level: T5 Malay Author's Instructions T5-Bab 7 RC MIP